生活
綜合
貓奴搶「CAT-8888」夢幻車牌!最終57.6萬決標 6666也破20萬
貓奴搶「CAT」車牌。(圖/交通部)
被譽為「貓奴身分證」的夢幻車牌號碼「CAT」日前開標,於今(12)日中午決標。而自用小客貨車車牌「CAT-8888」競標激烈,前後共多達130次出價搶標,最終以57萬6000元金額決標。
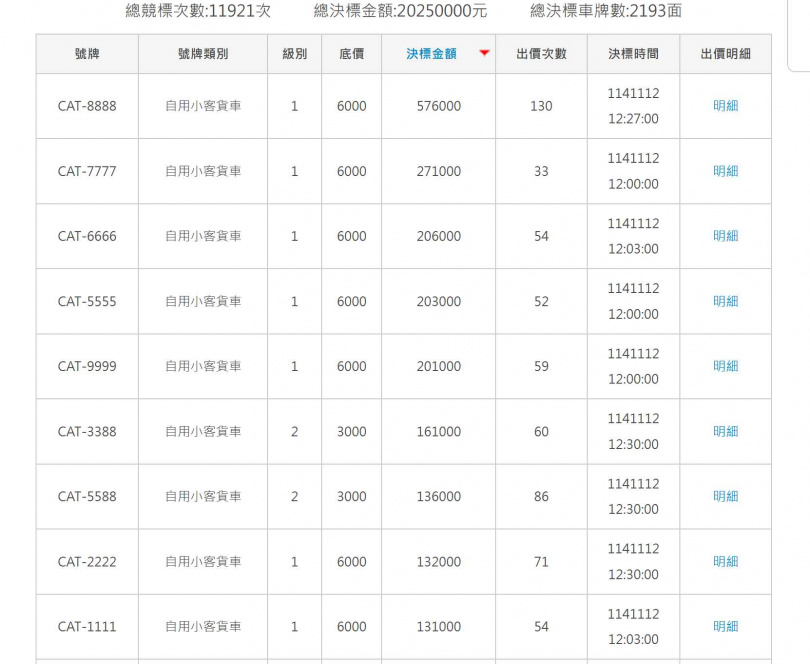
全台貓奴夢寐以求的「CAT」夢幻車牌於11月10日開標、11月12日中午決標。本次總競標次數為11921次,今日總共2193面車牌決標,總決標金額高達2025萬元。
其中,「CAT-8888」自用小客貨車黃金熱門車牌6000元起標,經過130次激烈競標,決標金額開出高達57萬6000元。
接著依序為「CAT-7777」,經過33次搶標後,以27萬1000元決標;「CAT-6666」車牌決標價也高達20萬6000元;「CAT-5555」車牌決標價20萬3000元;「CAT-9999」車牌也喊到20萬1000元。前5名最熱門車牌喊價均在20萬元以上,競標次數33至130次不等。
根據交通部公路局規定,為避免車牌決標後,得標者不依規定在期限內繳納標金的行為,車牌競標金額若超過30萬元(含),要先繳納6萬元保證金,才能參加競標;若得標者未依規定於期限內完成繳費,則沒收該保證金,並禁止參與公路監理機關車牌競標及選號資格1年。
至於未得標或得標已繳交全部得標金額者(保證金不得扣抵決標金額),則自決標次日起10個工作日,由招標機關無息退還保證金。
