生活
綜合
11-12月統一發票「開出18張1千萬大獎」 百萬大獎也有15張
財政部賦稅署於1月25日公布113年11、12月期統一發票中獎號碼。(圖/報系資料照)
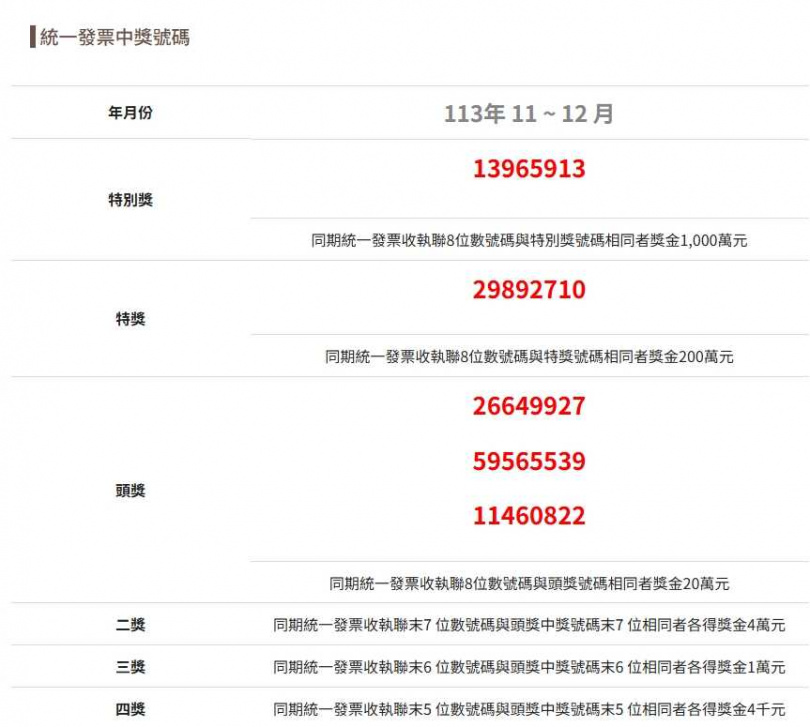
財政部賦稅署於1月25日公布113年11、12月期統一發票中獎號碼,其中最受矚目的千萬元特別獎號碼為13965913。本期共開出18張千萬獎項。
財政部賦稅署公布,113年11、12月期統一發票中獎號碼千萬元特別獎號碼為13965913,特獎200萬元的中獎號碼為29892710,共開出15張。而頭獎20萬元則由三組號碼獲得,分別為26649927、59565539、11460822。

依據統一發票對獎規則,二獎至六獎的獎金依頭獎末碼相符程度發放,二獎可獲4萬元,三獎1萬元,四獎4000元,五獎1000元,而六獎則可獲得200元獎金。
財政部提醒,中獎者可於114年2月6日起至5月6日期間兌領獎金,逾期將喪失兌獎資格。此外,財政部賦稅署也呼籲民眾,避免錯失領獎機會,建議可以下載財政部統一發票兌獎APP,申請或綁定手機條碼,透過該兌獎APP將各式載具完成歸戶及至財政部電子發票整合服務平台設定領獎帳戶,或中獎時直接使用該兌獎APP即時領獎,獎金絕不會漏接。
不僅如此,公用事業帳單也可以使用行動支付繳納並綁定手機條碼儲存發票,中獎時亦可透過統一發票兌獎APP即時領獎,一舉數得。